产品关键词:
产品简介:微波桨叶干燥设备是赣林干燥携手南京三乐微波集团共同研发出的针对油脂油屑专用型干燥设备,并且在2018年获国家专利认证,是一款节能环保高效的干燥设备。
联系方式:13961436197

微波桨叶干燥设备是赣林干燥携手南京三乐微波集团共同研发出的针对油脂油屑专用型干燥设备,并且在2018年获国家专利认证,是一款节能环保高效的干燥设备。

微波桨叶干燥设备全金属焊接的微波谐振腔,使用温度达700℃高温,可满足多种物料的加热。微波热解腔2外周均安装有保温隔热层.
微波桨叶干燥设备的工作温度范围为室温~800℃,耐温范围大,炉内物料填充率达40%~60%,运载能力强,可满足多种物料不同温度的微波处理,尤其是含油固废的处理。
微波桨叶干燥设备可有效的抑制微波能的泄漏,防止进出料口微波的泄漏,安全性好。
微波桨叶干燥设备可以有效地避免其它加热方式加热含机溶剂物料,尤其是含油固废的处理,带来的炉体内壁结焦问题
微波桨叶干燥设备设有泄爆口,更加安全可靠,可用于产生易燃易爆气体的物料的升温。
微波桨叶干燥设备可有效的控制氧气进入腔体内部,加热时安全可靠。
微波桨叶干燥设备的速度可实现无级可调,可以按照处理要求控制物料在微波热解腔内的停留时间。
微波桨叶干燥设备采用微波能作为热源,可使微波热解腔内部的物料在旋转轴上的螺旋叶片作用下进行翻滚,内部物料加热无死角,可实现物料受热均匀,热利用效率可达80%~85%,实现物料热解快速且效果均匀。
....


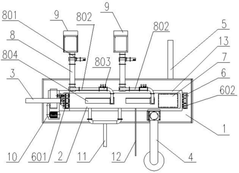
一种微波多螺旋热解设备,它包括机架,安装在机架上的微波热解腔,与微波热解腔相连的进料管道、泄爆系统、出料管道、排气管道和冲氮管道;微波热解腔上安装有炉门,微波热解腔与微波传输系统相连,微波传输系统与微波能发生器相连,微波热解腔与多螺旋输送系统相连,多螺旋输送系统由电机驱动旋转。


