产品关键词:
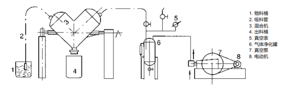
产品简介:本机适用于制药、化工、食品等行业两种以上粉状、颗粒状物料的混和。该机混和筒结构独特,混和效率高,无死角,采用不锈钢材料制作,内外壁抛光处理,外形美观,混和均匀,适用面宽,可根据用户的要求配套强制搅拌器,以适合较细的粉粒、块状、含有一定量水份的物料混合之用。
联系方式:13961436197

该机混和筒结构独特,混和效率高,无死角,采用不锈钢材料制作,内外壁抛光处理,外形美观,混和均匀,适用面宽,可根据用户的要求配套强制搅拌器,以适合较细的粉粒、块状、含有一定量水份的物料混合之用。

V形混合机是国际上较为通用的粉末、颗粒状物料混合机,它具有结构简单,容易操作,维修清洗方便,混合速度快效果混匀等特点。

广泛用于磁性材料,粉末治金,制药,化工,食品、电子、陶瓷等行业。



VHJ形混合机利用混料机二圆柱筒长度不相等,形成不对称,当混料机转动时物料从分解到结合再分解,由于物料平面不同,也有横向力,又有推动物料横向交流,每转动一圈横向力越25%的物料从一个筒体流向另一个桶体,这样物料横向径向混合,分解结合分解结合反复的相互进行,使得物料达到混合作用。

